تطبيق الاستعلام عن تنظيم الوسطاء العالميين
ما هو WikiFX
بحث الوسيط
العربية

简体中文

繁體中文

English

Pусский

日本語

ภาษาไทย

Tiếng Việt

Bahasa Indonesia

Español

हिन्दी

Filippiiniläinen

Français

Deutsch

Português

Türkçe

한국어

العربية

Download

Unable to withdraw

卓东
6-10 سنة
لم يتم التحقق منه

البلاغات

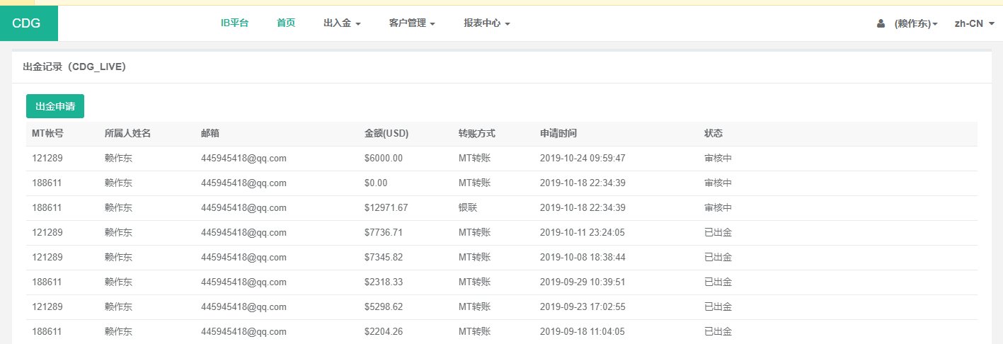
The withdrawal applied in October has been unavailable for 53 days. CDG blamed it on regulator or third-party payment. What’s more ridiculous, after I made a complaint on CDG on 9th, there was a clone CDG on 10th.

الأصل

无法出金诱导欺诈

我从10月份出金到现在53天了,CDG希达集团一时说换监管问题,一时说第三方支付问题,总之以各种理由到现在都没有到账!更可笑的是我9号投诉CDG他们10号就上个假CDG。~~~无语

2019-12-11

هونغ كونغ

غير قادر على السحب

الأكثر تعليقًا (أسبوع)

  • AssetsFX

  • STRIFOR

  • CRUCIAL MARKETS

  • dbinvesting

    4
  • Invidiatrade

    5
  • GVD Markets

    6
  • Axi

    7
  • FlipTrade Group

    8
  • Opofinance

    9
  • on fin

    10

مشاهدة المزيد

حمل تطبيق WikiFX

اختار الدولة/ المنطقة
United States
※ تجمع WikiFX البيانات من مصادر متاحة للعامة ومن مساهمات المستخدمين. مع أننا نسعى جاهدين للحفاظ على دقتها، إلا أننا لا نضمن اكتمالها أو دقتها أو حداثتها، إذ قد تصبح قديمة. ننصح المستثمرين بشدة بالتحقق من التفاصيل المهمة من مصادر رسمية قبل اتخاذ أي قرارات.
نت تزور موقع WikiFX. WikiFX Internet ومنتجاته المحمولة هي أداة بحث عن معلومات المؤسسة للمستخدمين العالميين. عند استخدام منتجات WikiFX ، يجب على المستخدمين الالتزام بالقوانين واللوائح ذات الصلة بالدولة والمنطقة التي يتواجدون فيها.
الخط الساخن للمستهلك : (002)01099845754
البريد الإلكتروني الرسمي:support@wikifx.com
رقم الهاتف المحمول : 234706777 7762 ; 61 449895363
تليجرام: +60 103342306
واتساب: + 852-6613 1970; + 44-7517747077
ترخيص أو تصحيح خطأ المعلومات الأخرى
يرجى إرسال المعلومات إلى qa@wikifx.com
التعاون :business@wikifx.com